Patentovalo Sony senzorové zařízení?
Novinka Patentovalo Sony senzorové zařízení?

Patentovalo Sony senzorové zařízení?

Michal Maliarov

Michal Maliarov

13

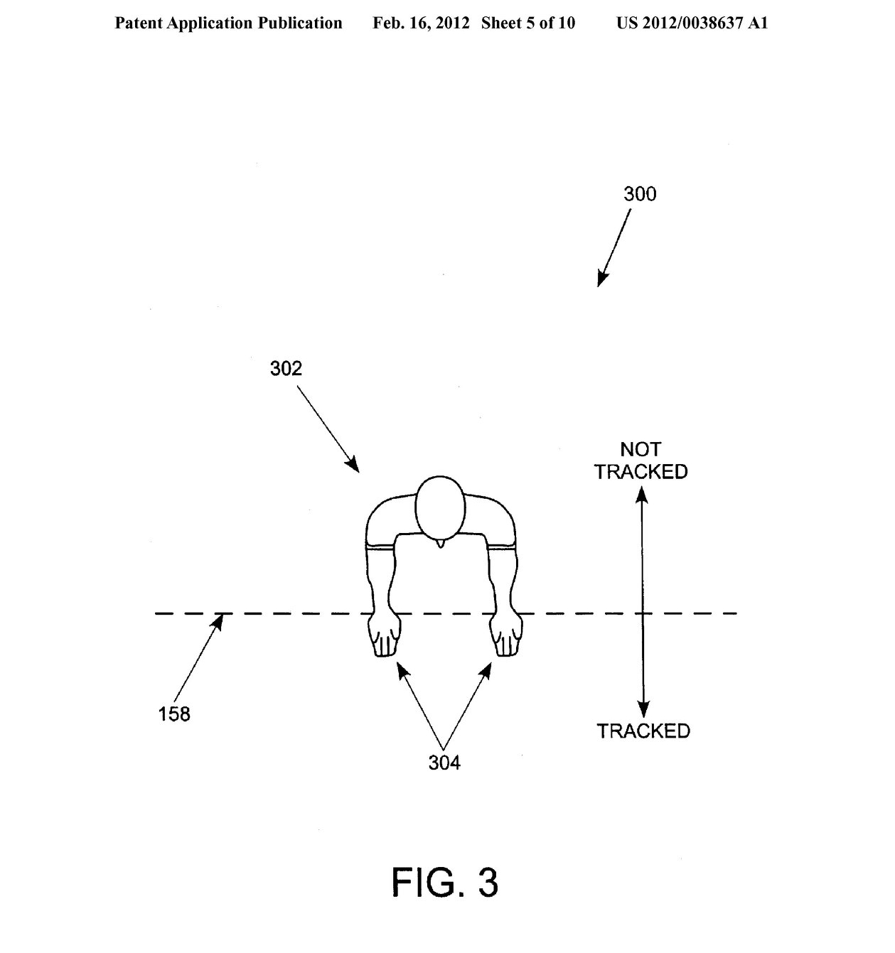
Vypadá to, že si společnost Sony před nějakou dobou zaregistrovala patent na senzor, využitelný na interaktivním herním poli.

Odměníme každého! Vyplňte komunitní průzkum a získejte luxusní ceny

Odměníme každého! Vyplňte komunitní průzkum a získejte luxusní ceny

Kdo jste, na čem a co hrajete, jaký obsah konzumujete a jaký vztah máte k AI? Věnujte nám pár minut a jako dárek za vyplnění získáte slevu na nákup a šanci získat také další luxusní ceny.

Reklama

Patent byl vyplněn již 26. října minulého roku tvůrcem kamerky PlayStation Eye Richardem Marksem. Zveřejněn byl ale teprve nyní a jedná se rozhodně o zajímavé počteníčko. Patent zmiňuje „hloubkový senzorový přístroj“, „3D kameru“ a „kontrolované infračervené světlo“.

Pokud se patent potvrdí, bude to rozhodně zajímavý humbuk přímo v základu samotné filozofie Sony. PS Move totiž bylo aktivně proklamováno s tím, že pro pohodlné hraní tak jako tak potřebujeme fyzický ovladač. Nyní to ale vypadá, že se Sony přiklání ke konkurenčnímu ovládání Kinectu.

„S neustále se zvyšujícím výkonem současné počítačové technologie se objevují nové kreativní způsoby, jak ovládat a ovlivňovat systémy,“ říká patent. „Jsou zapotřebí vylepšené způsoby pro interakci v trojrozměrném prostranství. Tyto způsoby by měly dovolit uživateli interakci bez dodatečného příslušenství, zbytečného přetížení, a to vše v reálném čase.“

Patent také přímo zmiňuje herní průmysl a konzoli PlayStation, což dává tušit, že bychom se mohli na PS3 dočkat novějšího pohybového ovládání bez ovladače. Nebo se jedná o novinku, připravovanou pro novou generaci konzole? Ať je to jak chce, Sony si tímto výrokem značně šlape na jazyk a rozhodně bude zajímavé sledovat, jak se tato situace bude nadále vyvíjet.


Reklama
Reklama

Komentáře

Nejsi přihlášený(á)

Pro psaní a hodnocení komentářů se prosím přihlas ke svému účtu nebo si jej vytvoř.

Rychlé přihlášení přes:

Reklama
Reklama
Reklama