Sony vyvíjí AI, která bude za hráče hrát těžké pasáže
i Zdroj: Playstation
Novinka Sony vyvíjí AI, která bude za hráče hrát těžké pasáže

Sony vyvíjí AI, která bude za hráče hrát těžké pasáže

Václav Brixí

Václav Brixí

23

Sony si patentovala novou AI technologii, která by mohla hráčům pomáhat při hraní her. Projekt "Ghost Player" vytvoří virtuální charakter, který za hráče odehraje těžké pasáže.

Odměníme každého! Vyplňte komunitní průzkum a získejte luxusní ceny

Odměníme každého! Vyplňte komunitní průzkum a získejte luxusní ceny

Kdo jste, na čem a co hrajete, jaký obsah konzumujete a jaký vztah máte k AI? Věnujte nám pár minut a jako dárek za vyplnění získáte slevu na nákup a šanci získat také další luxusní ceny.

Reklama

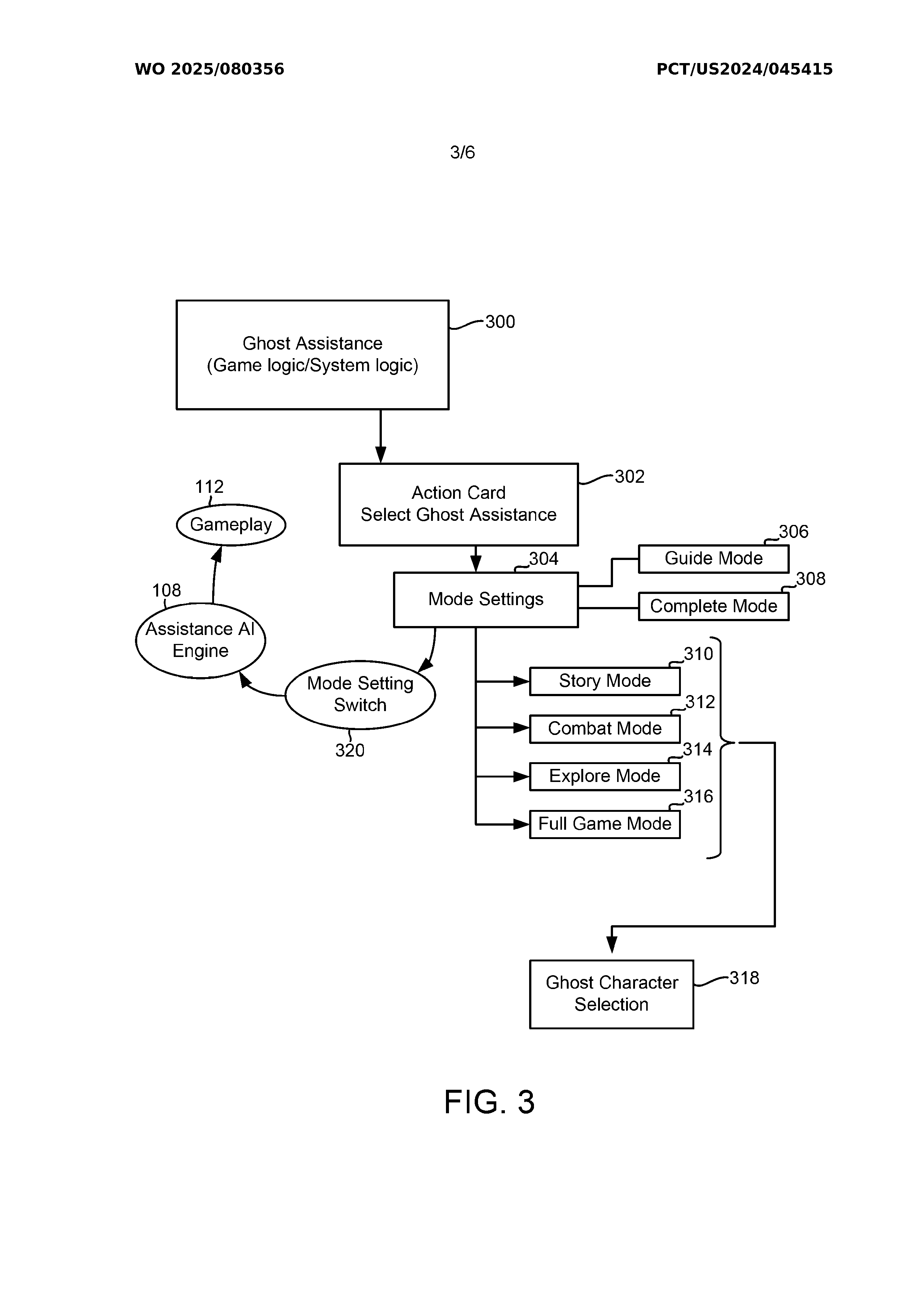
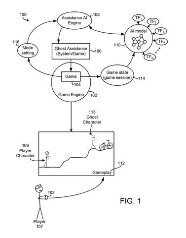
Nejnovější informace ohledně technologického projektu “AI GENERATED GHOST PLAYER” pochází z oficiálního webu Světové organizace duševního vlastnictví (World Intellectual Property Organization). Ten potvrzuje, že si společnost Sony Interactive Entertainment nechala v září 2024 oficiálně patentovat technologii, která má za cíl vytvořit pro PlayStation hry AI pomocníka, který hráčům pomůže překonávat těžké pasáže vybraných her. V některých případech by je za hráče mohl dokonce kompletně odehrát.

Sony chce hráčům pomáhat skrze AI

V praxi by to mělo vypadat následovně. Pokud bude hráč zaseklý na nějaké hádance či zapeklité části kupříkladu ve hře Uncharted, Last of Us nebo God of War, bude mít možnosti si zapnout dva módy výpomoci: Guide mode a Complete mode. První zmíněný by měl ve hře vytvořit “ducha” hlavního protagonisty a ukázat hráči, jak pasáž projít. V módu Complete by dokonce měla umělá inteligence převzít kontrolu úplně a za hráče pasáž dokončit úplně.

Herní pomoc a nápověda není nic tak úplně nového. PlayStation už dříve představil systém “Herní nápovědy”, který pomáhá hráčům pomocí fotek, videí a návodů přímo v rozhraní konzole řešit hádanky nebo pomáhat k zisku trofejí. Microsoft naopak minulý rok představil funkci Copilot, která hráčů poskytnula AI pomocníka, se kterým mohli hrát.

Herní výpomoc je i terčem kritiky

Na druhou stranu, přílišná výpomoc při hraní byla několikrát i terčem kritiky. Například v případě výše zmíněného God of War Ragnarok s hráči opakovaně stěžovali, že herní parťáci začínají radit příliš brzy a kazí to celkový požitek z hraní.

Zdali tedy případná nová forma herní pomoci padne na úrodnou půdu, ukáže jen čas. Sony navíc explicitně nepotvrdilo, že tuto technologii bude v rámci svých her využívat. Vše je zatím ve fázi vývoje a sběru dat. Přičemž hlavními rešeršními zdroji a prostorem pro testování této technologie jsou existující záznamy her, namísto toho, aby se jednalo o předem nahranou sérii vstupů nastavených vývojářem.


Reklama
Reklama

Související články

Komentáře

Nejsi přihlášený(á)

Pro psaní a hodnocení komentářů se prosím přihlas ke svému účtu nebo si jej vytvoř.

Rychlé přihlášení přes:

Reklama
Reklama
Reklama