Chystá Apple vlastní herní ovladač?
Novinka Chystá Apple vlastní herní ovladač?

Chystá Apple vlastní herní ovladač?

Michal Burian

Michal Burian

33

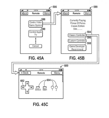
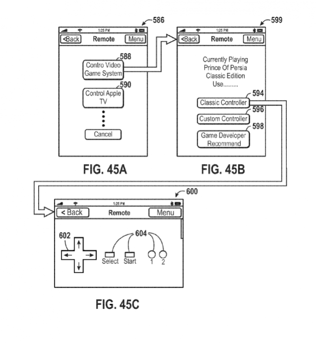
Uniklý patent dává najevo, že se možná v budoucnu dočkáme unikátního ovladače pro výrobky Applu.

Odměníme každého! Vyplňte komunitní průzkum a získejte luxusní ceny

Odměníme každého! Vyplňte komunitní průzkum a získejte luxusní ceny

Kdo jste, na čem a co hrajete, jaký obsah konzumujete a jaký vztah máte k AI? Věnujte nám pár minut a jako dárek za vyplnění získáte slevu na nákup a šanci získat také další luxusní ceny.

Reklama

Mobilní hraní zažívá v posledních letech stále větší rozmach, virtuální ovladače a dotykové displeje ale nepatří mezi nejpohodlnější způsoby, jak hrát hry a mnozí proto na smartphonech a tabletech dávají přednost jednoduchým hříčkám. Jakmile totiž spustíte opravdovou akční adventuru či FPS akci, máte zaděláno na problém.

Právě ten podle všeho chce řešit společnost Apple, která patentovala některé designy a návrhy herního ovladače pro iOS hry. Ten nápadně připomíná ovladač od konzole PlayStation a využít by jej zákazníci mohli společně s iPhony, iPady, iPody či Apple TV.

V současné době není jasné, zda se jedná o aktivní návrhy, nebo jen zaregistrovaný patent bez větších plánů, Apple by ale rozhodně mohl využít podobné vychytávky pro zlepšení herního zážitku na svých přístrojích.


Reklama
Reklama

Komentáře

Nejsi přihlášený(á)

Pro psaní a hodnocení komentářů se prosím přihlas ke svému účtu nebo si jej vytvoř.

Rychlé přihlášení přes:

Reklama
Reklama
Reklama