Bude PS Move i pro handheldy?
PSP Novinka Bude PS Move i pro handheldy?

Bude PS Move i pro handheldy?

Michal Maliarov

Michal Maliarov

5

Na internetu se objevily intrigující obrázky, které mohou značit práce na přenosném systému PS Move.

Odměníme každého! Vyplňte komunitní průzkum a získejte luxusní ceny

Odměníme každého! Vyplňte komunitní průzkum a získejte luxusní ceny

Kdo jste, na čem a co hrajete, jaký obsah konzumujete a jaký vztah máte k AI? Věnujte nám pár minut a jako dárek za vyplnění získáte slevu na nákup a šanci získat také další luxusní ceny.

Reklama

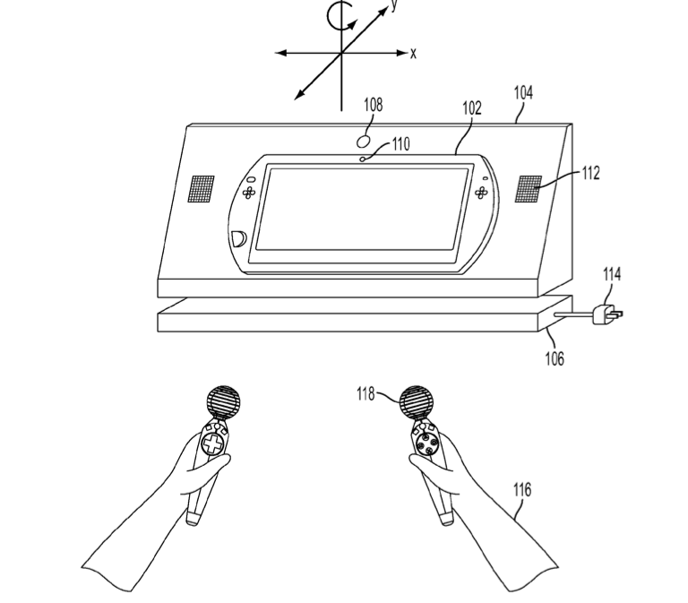
Ještě v roce 2009 vyplnilo Sony patent, který byl publikován až dnes. Patent sebou představuje kresby a vysvětlení principu pohybového ovládání pro přenosné konzole. Obrázky ukazují dokovací zařízení pro PSP s integrovanými kamerkami. Úhel pohledu sice není dostatečně široký, ale podstavec má být otáčivý.

Patent ukazuje konzoli PSP Go, ale ta byla společností před nějakou dobou odstavena. Je tedy realistické předpokládat, že se technologie přenese na konzoli PSP, tedy spíše na jeho nástupce NGP. Zda se jedna o stále funkční plány se snad dozvíme brzy. Že by E3?


Reklama
Reklama

Komentáře

Nejsi přihlášený(á)

Pro psaní a hodnocení komentářů se prosím přihlas ke svému účtu nebo si jej vytvoř.

Rychlé přihlášení přes:

Reklama
Reklama
Reklama