Tři patenty Sony na speciální rukavice pro PS VR
Novinka Tři patenty Sony na speciální rukavice pro PS VR

Tři patenty Sony na speciální rukavice pro PS VR

Michal Burian

Michal Burian

17

Budeme takhle ovládat hry určené pro PlayStation VR?

Odměníme každého! Vyplňte komunitní průzkum a získejte luxusní ceny

Odměníme každého! Vyplňte komunitní průzkum a získejte luxusní ceny

Kdo jste, na čem a co hrajete, jaký obsah konzumujete a jaký vztah máte k AI? Věnujte nám pár minut a jako dárek za vyplnění získáte slevu na nákup a šanci získat také další luxusní ceny.

Reklama

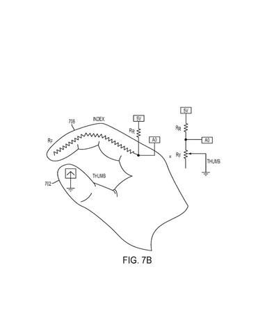
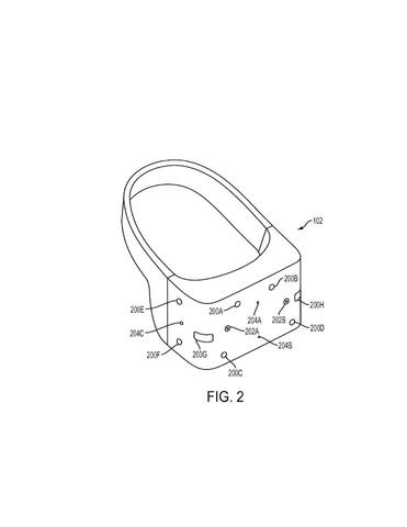
S připravovanou virtuální realitou pro PlayStation 4 by mohla přijít speciální rukavice, s kterou budeme ovládat hry. Sony si nechala zaregistrovat tři patenty nazvané Glove Controller. Rukavice má obsahovat různé senzory a pravděpodobně i jakousi dotykovou plochu.

Na nákresech můžete vidět, že díky senzorům má PS VR rozpoznat vaše pohyby ruky, včetně stisknu, míření atd.

Je otázkou, zda Sony vůbec něco takového použije. Minulost nás naučila, herní společnosti už mnohokrát přišly s různými patenty, které nakonec nikdy nespatřily světlo světa. Možná něco konkrétního o Glove Controller uslyšíme v březnu na GDC, kde bude jedna část věnovaná právě PlayStation VR. Očekává se minimálně přesné datum vydání PS VR (spekuluje se o odkladu na podzim 2016) a cena (prý bude v hodnotě nové konzole).


Reklama
Reklama

Komentáře

Nejsi přihlášený(á)

Pro psaní a hodnocení komentářů se prosím přihlas ke svému účtu nebo si jej vytvoř.

Rychlé přihlášení přes:

Reklama
Reklama
Reklama